Simulink Default Report

The MathWorks


Table of Contents
1. Model - f14
System - f14
List of Tables
1-1. Model Variables
1-2. GainBlock Properties
1-3. SignalGeneratorBlock Properties
1-4. SumBlock Properties
1-5. TransferFcnBlock Properties
1-6. Signal Properties
1-7. Block Type Count
List of Figures
1-1. Angle of Attack
1-2. Pilot G force Scope
1-3. Stick Input

Chapter 1. Model - f14

Table 1-1. Model Variables

Variable Name Parent Blocks Calling string Value
Mq Gain1 Mq -0.6571
Mw Gain2 Mw -0.00592
Ta Actuator Model [ Ta, 1] 0.05
Uo Gain5 1/Uo 689.4
Zw Gain Zw -0.6385

Solver ode45 ZeroCross on StartTime 0.0 StopTime 60
RelTol 1e-4 AbsTol 1e-6 Refine 1
InitialStep auto FixedStep auto MaxStep auto

Table 1-2. GainBlock Properties

Name Gain Multiplication SaturateOnIntegerOverflow
Gain Zw Element-wise(K.*u) on
Gain1 Mq Element-wise(K.*u) on
Gain2 Mw Element-wise(K.*u) on
Gain5 1/Uo Element-wise(K.*u) on

Table 1-3. SignalGeneratorBlock Properties

Name WaveForm Amplitude Frequency Units VectorParams1D
Pilot square 1 0.500000 rad/sec on

Table 1-4. SumBlock Properties

Name IconShape Inputs SaturateOnIntegerOverflow
Sum round |++ on
Sum1 round |++ on

Table 1-5. TransferFcnBlock Properties

Name Numerator Denominator
Actuator Model [1] [ Ta, 1]

Table 1-6. Signal Properties

Name Description ParentSystem CompiledPortDataType
<1084.0018>   f14  
<1085.0018>   f14  
<1088.0017>   f14  
<1091.0015>   f14  
<1092.0013>   f14  
<1093.0013>   f14  
<1094.0013>   f14  
<1095.0012>   f14  
<1096.0012>   f14  
<1097.0012>   f14  
<1098.0012>   f14  
q   f14  
qGust   f14  
w   f14  
wGust   f14  


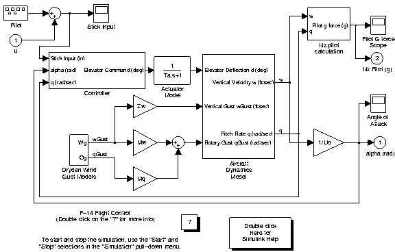
System - f14

Name f14 Parent <root>
Description   Tag  
Blocks

u
Actuator Model
Aircraft Dynamics Model
Angle of Attack
Controller
Dryden Wind Gust Models
Gain
Gain1
Gain2
Gain5
More Info
More Info1
Nz pilot calculation
Pilot
Pilot G force Scope
Stick Input
Sum
Sum1
alpha (rad)
Nz Pilot (g)
                  

LinkStatus N/A

Table 1-7. Block Type Count

BlockType # of Occurrences Block Names
SubSystem 6

Aircraft Dynamics Model
Controller
Dryden Wind Gust Models
More Info
More Info1
Nz pilot calculation

Gain 4

Gain
Gain1
Gain2
Gain5

Scope 3

Angle of Attack
Pilot G force Scope
Stick Input

Sum 2

Sum
Sum1

Outport 2

Nz Pilot (g)
alpha (rad)

TransferFcn 1

Actuator Model

SignalGenerator 1

Pilot

Inport 1

u

Figure 1-1. Angle of Attack

Figure 1-2. Pilot G force Scope

Figure 1-3. Stick Input